| Sign In | Join Free | My benadorassociates.com |
|
Brand Name : ETOPMAY
Model Number : TMCC02
Certification : SGS( RoHS)
Place of Origin : China
MOQ : 2000pcs
Price : Negotiable
Payment Terms : T/T
Supply Ability : 1000000pcs per month
Delivery Time : 20~25 working days
Packaging Details : Bulk, Tape
Capacitance : 220pF
Rated Voltage : 15KV,25KV
Operating Temperature Range : –25℃~+85℃
Tolerance : +-10%
Ceramic Dielectric : Y5T
Temperature characteristics : +20%, -33%
High Voltage Ceramic Capacitors 220pF 15KV 25KV Y5T Blue Epoxy Coating
High voltage ceramic capacitors is to belong to a kind of ceramic capacitors, are used to high dielectric constant of ceramics (barium titanate - titanium oxide) squeezed into a circular tube, the wafer or disk as a medium, coated metallic film (usually in the form of silver electrode through high heat sintering, tin copper clad steel wire, surface coating to protect the enamel, or with epoxy resin coating. The shape is blue wafer shape. Generally used in power systems, such as power system metering, energy storage, partial voltage and other products will use high voltage ceramic capacitors.
Features
Low dissipation factor of 0.1% at 1 KHZ
High frequency ≤100KHZ
High current ≥10A
High voltage ≥27KVDC
High insulation resistance ≥100000MΩ
Long life ≥10 years
Transient current, short-circuit current ≥100A
Applications
High frequency & high voltage power supplies;
Lasers, high voltage pulse generator
X-ray equipment
Smart grid
Scanning Instrument
Medical power supply
Specifications
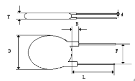
| Products | Ceramic Capacitor | Model No | TMCC02-221K25KVP7.5B |
| Drawing and Size | D/Diameter | 8.5mm ±0.3mm | |
![]() | T/ thickness | 8.2mm ±0.3mm | |
| L/ length of lead | 25mm ±1.0mm | ||
| F/Lead foot distance | 7.5mm ±0.3mm | ||
| d/wire diameter | 0.6m/m ±0.02mm | ||
| B/Painting foot length | 3mm max | ||
| M.characteristics | Electric energy parameter | ||
|
Y5T |
test condition:(a)testing voltage V.:37.5KV (b)Frequency: 1kHz,(c)Temperature: 25℃± 2 ℃ (d)Humidity: 70% Test method: use colloidal gloves to avoid the accuracy of volume value affected by hand temperature and heat conduction
⑹Withstand overvoltage test: DC 1.5times rated voltage no breakdown or arc flying | ||
|
Characteristics chart
| ![]() | ||
| packing | inner box: Plastic cotton box: carton | ||
| Storage | Temperature:0~40℃ humidity:﹤80%RH | ||
| Standard | Electronic Components-Detailed Specification for High-voltage Porcelain Capacitor Type ct81' GB9599-88 | ||

Our series of strong products of capacitors and resistors can be divided into below types:
★ Ceramic Disc Capacitor( low and high voltage, Y1/Y2 safety )
★ Multilayer Ceramic Capacitor( radial, axial and SMD )
★ Film Capacitor( Mylar, MKT, MKP, X2, CBB60, CBB61, CBB65, CL21-Box, CBB-BOX, CL20, CBB20, CBB81, etc. )
★ Aluminum Electrolytic Capacitor(SMD, Radial , Axial, Snap-in , Screw Terminal, etc. )
★ Tantalum Capacitor(SMD, Radial , Axial )
★ Super Capacitor( Coin Type, Cylindrical Type, Module Type)
★ Mica Capacitor
★ Trimmer Capacitor
★ SMD Resistors
★DIP TYPE Resistors( KNP, CF, MF, MOF, ect,)
★ Cement Resistors
★ Leadless Resistors( MLEF)
★Power Resistor
Any more details, kindly contact us freely!
|
|
15KV 25KV High Voltage Capacitors Blue Epoxy Coating 220pf Ceramic Capacitor Y5T Images |